1. 割炬的作用與分類
割炬是氣割操作的主要工具,它的作用是將可燃氣體與氧氣以一定的比例和方式混合后,形成具有一定熱量和形狀的預熱火焰,并在預熱火焰的中心噴射切割氧進行氣割。割炬的構造必須簡單、重量輕、使用安全可靠。
割炬按可燃氣體和氧氣混合的方式不同分為射吸式和等壓式兩種。目前國內兩種形式割炬都有生產,但射吸式割炬使用較多。按用途不同可分為普通割炬、重型割炬以及焊割兩用炬等,割炬的型號及主要技術數據見表1-4。
表1-4 割炬的型號及主要技術數據

2. 射吸式割炬
射吸式割炬是使用較廣的一種割炬,其工作原理如圖1-12所示。

圖1-12 射吸式割炬工作原理
1—割嘴;2—切割氧通道;3—切割氧開關;4—乙炔調節閥;
5—氧氣調節閥;6—混合氣體通道;7—高壓氧;8—混合氣體
氣割時,先逆時針方向稍微開啟預熱氧調節閥,再打開乙炔調節閥,使氧氣與乙炔在噴嘴內混合后,經過混合氣體通道從割嘴噴出,并立即點火,經適當調節后形成所需的環形預熱火焰,對割件進行預熱。待割件預熱至燃點時,逆時針方向開啟高壓氧調節閥,此時高速氧氣流將割縫處的金屬氧化并吹除,隨著割炬的不斷移動即在割件上形成割縫。
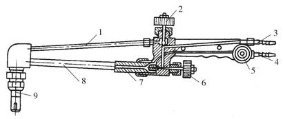
射吸式割炬的構造如圖1-13所示。射吸式割炬的構造是以射吸式焊炬為基礎的。割炬的結構可分為兩部分:一是預熱部分,其構造與射吸式焊炬相同;另一部分為切割部分,它是由切割氧調節閥、切割氧通道以及割嘴等組成。

圖1-13 射吸式割炬的構造
1—切割氧氣管;2—切割氧氣閥;3—氧氣管;4—乙炔管;5—乙炔調節閥;
6—氧氣調節閥;7—射吸管;8—混合氣管;9—割嘴
割嘴的構造與焊嘴不同,見圖1-14。焊嘴上的噴射孔是小圓孔,所以氣焊火焰呈圓錐形;而割嘴上的混合氣體噴射孔是環形或梅花形的,作為氣割預熱火焰的外形呈環狀分布。環形割嘴用于G01-30、G01-100割炬;梅花形割嘴用于G01-100、G01-300割炬。

圖1-14 焊嘴和割嘴的截面形狀
3. 液化石油氣割炬
由于液化石油氣的燃燒特性與乙炔氣不同,所以用液化石油氣切割時應使用專門割炬,也可以將乙炔割嘴改造后使用。將乙炔割炬改造成適合液化石油氣的割炬主要是擴大燃料混合氣的噴口截面和擴大混合室預熱氧噴嘴孔徑,如圖1-15所示。

圖1-15 乙炔割炬割嘴改進圖
(1)擴大燃料混合氣的噴口截面。這樣改造可以降低噴口氣體的流速。燃料混合氣的流出速度太小,容易發生回火而熄滅,太大則會脫火而熄滅。合適的流出速度主要取決于燃料的燃燒速度,由于液化石油氣與氧燃燒速度比乙炔與氧的燃燒速度小得多,所以乙炔割炬用液化石油氣切割,必須擴大燃料混合氣的噴口截面,降低其流出速度,防止脫火。例如2號乙炔割炬改用液化石油氣切割時,環形割嘴可將環隙寬度(即D-D1,如圖1-15所示)擴大到0.6~0.65mm;3號乙炔割炬可擴大環隙寬度(D-D1)0.65~0.8mm。
(2)擴大混合室預熱氧噴嘴孔徑。由于液化石油氣完全燃燒所需要的氧氣量比乙炔的需氧量大一倍多,所以必須擴大乙炔割炬的混合室預熱氧噴嘴孔徑,同時減少原乙炔閥門的入口孔徑。例如2號乙炔割炬改用液化石油氣切割,預熱氧噴嘴孔徑可由原來的0.7mm擴大為1mm,3號乙炔割炬可由0.8mm改為1.1mm。
液化石油氣割炬可重新設計制造,但為設計及制造方便,液化石油氣割炬全部零件及總體尺寸與同號乙炔割炬相同。只對其中三個部件加以適當改進,除擴大低壓氧噴嘴孔徑及燃料混合氣噴口截面外,還擴大了射吸管圓柱部分的孔徑。改造或重新設計制造的液化石油氣割炬與同號乙炔割炬切割能力相同。
氣焊割槍常用的有3種型號:
- 割炬G01-30 割嘴G01-30-1#、2#、3# 3種型號
- 割炬G01-100 割嘴G01-100-1#、2#、3# 3種型號
- 割炬G01-300 割嘴G01-300-1#、2#、3# 3種型號
- 后面的數字越大,割炬越長、割嘴越大,每個型號的割炬割嘴不能通用,割嘴的編號越大,其中心孔越大,割炬和割嘴越大,可以切割的板材越厚。













